产品中心

品牌logo
品牌logo
品牌logo 首页/产品中心 /低温恒温器

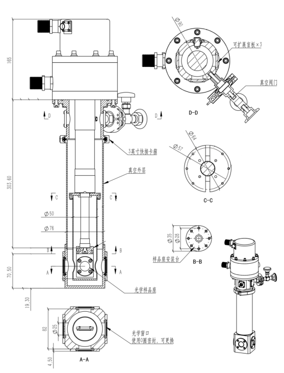
闭循环低温恒温器LH-COC

所属栏目:低温恒温器

发布时间:2026-03-30

简单介绍:

了解更多 >
特点
结构
参数
说明书

●可配备恒温器支架、实现水平或者垂直放置、出厂默认支架垂直朝上

●制冷过程无需消耗液氦

●全程无值守降温、软件实时测量温度

●可选配多样的样品托:固体样品托、粉末样品托、液体样品托

●可增加电学测量引线

●无氧铜镀金样品座

●窗口数量、窗口直径、波长范围可选

●最大可安装固体样品40x40mm(其他尺寸定制)